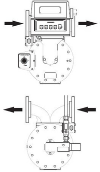
Bombas de pistón dosificadoras aditivas montadas en el medidor de flujo DKP
Estos sistemas son muy beneficiosos en condiciones climáticas extremas y / o en ausencia de cualquier electrónica.
El sistema de medición que comprende la bomba de pistón aditiva mecánica tipo DKP es un sistema versátil que se utiliza para medir e inyectar una amplia gama de productos de aditivos.
Las aplicaciones típicas son antihielo (sector del mercado de la aviación) así como aditivos o marcadores de rendimiento de aceites minerales.

Se beneficia de su simplicidad.
Rango de aplicación
Combinaciones tipicas
El DKP se aplica típicamente al tipo de medidor Alfons Haar PD
Alfons Haar Medidor de flujo de desplazamiento Posititiv | Tipo de inyector | 1er cilindro (Opción A1 o A4) | 2do cilindro (Opción A1) | 1er + 2do cilindro conjunto |
|---|---|---|---|---|
Para otras aplicaciones (por ejemplo, medidores de la marca Satam), consulte la fábrica y elCódigo de modelo DKP | ||||
| MKA 2290 (2,000 lpm) | DKP 2,7 A4 | 2.7 = 1,000 ppm | ||
| DKP 2,7- 4,8 A1 | 2.7 = 1,000 ppm | 4.8 = 2,000 ppm | 3,000 ppm | |
| MKA 3350 (3,000 lpm) | DKP 4,1 A4 | 4.1 = 1000 ppm | ||
| DKP 4,1 - 7,1 A1 | 4.1 = 1,000 ppm | 7.1 = 2,000 ppm | 3,000 ppm | |